Model 1035 Series
High-Efficiency Washout Urinal
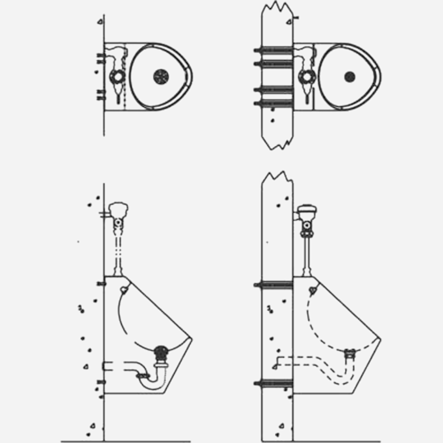
This stainless steel ADA compliant high efficiency urinal is designed for mounting onto a finished wall from an accessible pipe chase. It is available in a wall or top water supply, and a wall waste outlet. It is ADA Compliant when installed correctly. This urinal is approved for sale and use in California.
Downloads
Specifications
| Mounting | Wall-Mounted, Rear-Mounted (Chase) |
| Material | Stainless Steel |
| Style | Super-Secur |
Options
Miscellaneous
Image | Model | Description | Downloads | |
|---|---|---|---|---|
![]() | EG | Option: Enviro-Glaze® Powder Coating |
Models
1035F Front Mount Urinal, HEU, Wall Supply 1036F Front Mount Urinal HEU, Top Supply 1035R Rear Mount Urinal, HEU, Wall Supply 1036R Rear Mount Urinal HEU, Top Supply









